本實用新型涉及硬密封蝶閥技術領域,尤其涉及一種對夾式硬密封蝶閥。

背景技術:
軟硬密封蝶閥的蝶板安裝于管道的直徑方向,在蝶閥閥體圓柱形通道內,圓盤形蝶板繞著軸線旋轉,旋轉角度為0°~90°之間,旋轉到90°時,閥門則為全開狀態,新型高壽命不銹鋼蝶閥的特點以及蝶閥在使用過程中存在問題,本類閥門在管道中一般應當水平安裝,軟硬密封蝶閥根據連接方式可分為法蘭式軟硬密封蝶閥,對夾式軟硬密封蝶閥,焊接式軟硬密封蝶閥,軟硬密封蝶閥作為一種用來實現管路系統切斷及流量控制的部件,已在石油、化工、冶金、水電等許多領域中得到極為廣泛地應用,在已公知的蝶閥技術中,其密封形式多采用密封結構,密封材料為橡膠、聚四氟乙烯等,由于結構特征的限制,不適應耐高溫、高壓及耐腐蝕、抗磨損等行業,現有一種比較先進的蝶閥是三偏心金屬硬硬密封蝶閥,閥體和閥座為連體構件,閥座密封表面層堆焊耐溫、耐蝕合金材料,多層軟疊式密封圈固定在閥板上,這種蝶閥與傳統蝶閥相比具有耐高溫,操作輕便,啟閉無磨擦,關閉時隨著傳動機構的力矩增大來補償密封,提高了蝶閥的密封性能及延長使用壽命的優點。
硬密封蝶閥由于其自身的優異性能,得到了廣泛的應用,軟硬密封蝶閥一般都是在一些管道中使用,但目前現有的對夾式硬密封蝶閥結構設計還存在一定的缺陷,手動啟閉裝置傳動效率太低,比較費力,而且沒有鎖緊裝置,使用較為不便,為此,我們提出了新的一種對夾式硬密封蝶閥。
技術實現要素:
本實用新型的目的是為了解決現有技術中存在的缺點,而提出的一種對夾式硬密封蝶閥。
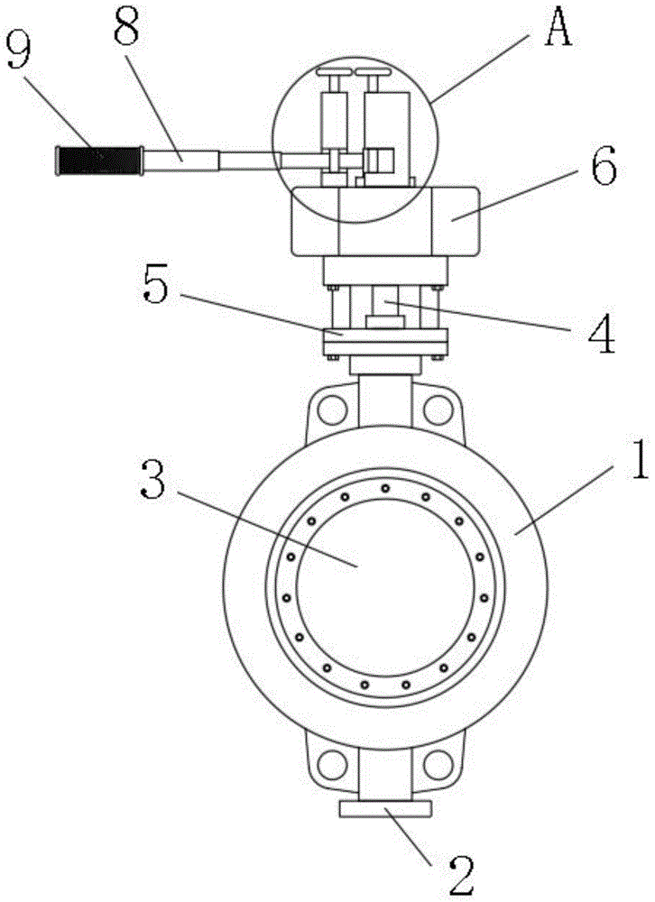
為了實現上述目的,本實用新型采用了如下技術方案:一種對夾式硬密封蝶閥,包括閥體,所述閥體底部的中心固定連接有固定底座,所述閥體的中心轉動連接有閥芯蝶板,所述閥芯蝶板的中心固定連接有閥桿,所述閥體頂部的中心安裝有支撐架,所述支撐架的頂部固定連接有傳動支座,所述傳動支座頂部的中心轉動連接有固定塊,所述固定塊外壁的一側固定連接有伸縮桿,所述伸縮桿遠離固定塊一端的外壁套接有橡膠皮套,所述傳動支座的頂部分別固定連接有與伸縮桿相對應的第一鎖緊塊和第二鎖緊塊,所述第一鎖緊塊和第二鎖緊塊一側的中心均安裝有定位桿,所述定位桿的頂部固定連接有手提把手,所述第一鎖緊塊和第二鎖緊塊一側的中心均開設有與定位桿相對應的滑槽,兩個所述定位桿的外壁均套接有復位彈簧,兩個所述定位桿外壁的中心固定連接有限位塊,所述第一鎖緊塊和第二鎖緊塊底部的一側均開設有與定位桿相對應的定位槽。
作為上述技術方案的進一步描述:
所述固定底座頂部的中心安裝有與閥桿相對應的轉動軸承。
作為上述技術方案的進一步描述:
所述閥桿通過多個固定螺釘與閥芯蝶板固定連接,且所述閥桿的頂端貫穿閥體和支撐架并向傳動支座的中心延伸。
作為上述技術方案的進一步描述:
所述支撐架是通過多個固定螺栓與閥體固定連接。
作為上述技術方案的進一步描述:
所述第一鎖緊塊和第二鎖緊塊一側頂部以及底部的中心均開設有與定位桿相對應的通孔,所述定位桿貫穿通孔并向滑槽的兩端延伸。
作為上述技術方案的進一步描述:
所述第一鎖緊塊和第二鎖緊塊外壁一側的底部均開設有與伸縮桿相對應的限位凹槽。
本實用新型具有如下有益效果:1、本實用新型提出的一種對夾式硬密封蝶閥與傳統裝置相比,該裝置結構簡單,方便實用,在不改變現有裝置整體設計結構的情況下,通過設計簡單的鎖定和轉動機構,可以有效防止因管內流量過大而推動閥芯蝶板進行自動關閉。
2、該裝置與傳統裝置相比,其結構和設計均有較大創新和改進,該對夾式硬密封蝶閥不僅設計有簡單的啟閉機構,還設計有鎖緊機構,既可以快速方便的啟閉閥芯蝶板,同時也可以實現對閥桿位置的鎖緊固定,工作效率大大提高,值得大力推廣。
附圖說明
圖1為本實用新型提出的一種對夾式硬密封蝶閥的主視結構圖;
圖2為本實用新型提出的一種對夾式硬密封蝶閥第一鎖緊塊的內部結構示意圖;
圖3為圖1中a處的局部放大圖。
圖例說明:
1、閥體;2、固定底座;3、閥芯蝶板;4、閥桿;5、支撐架;6、傳動支座;7、固定塊;8、伸縮桿;9、橡膠皮套;10、第一鎖緊塊;11、第二鎖緊塊;12、定位桿;13、手提把手;14、滑槽;15、復位彈簧;16、限位塊;17、定位槽;18、限位凹槽。
具體實施方式
下面將結合本實用新型實施例中的附圖,對本實用新型實施例中的技術方案進行清楚、完整地描述,顯然,所描述的實施例僅僅是本實用新型一部分實施例,而不是全部的實施例。基于本實用新型中的實施例,本領域普通技術人員在沒有做出創造性勞動前提下所獲得的所有其他實施例,都屬于本實用新型保護的范圍。
在本實用新型的描述中,需要說明的是,術語“中心”、“上”、“下”、“左”、“右”、“豎直”、“水平”、“內”、“外”等指示的方位或位置關系為基于附圖所示的方位或位置關系,僅是為了便于描述本實用新型和簡化描述,而不是指示或暗示所指的裝置或元件必須具有特定的方位、以特定的方位構造和操作,因此不能理解為對本實用新型的限制;術語“第一”、“第二”、“第三”僅用于描述目的,而不能理解為指示或暗示相對重要性,此外,除非另有明確的規定和限定,術語“安裝”、“相連”、“連接”應做廣義理解,例如,可以是固定連接,也可以是可拆卸連接,或一體地連接;可以是機械連接,也可以是電連接;可以是直接相連,也可以通過中間媒介間接相連,可以是兩個元件內部的連通。對于本領域的普通技術人員而言,可以具體情況理解上述術語在本實用新型中的具體含義。
參照圖1-3,本實用新型提供的一種實施例:一種對夾式硬密封蝶閥,包括閥體1,閥體1底部的中心固定連接有固定底座2,閥體1的中心轉動連接有閥芯蝶板3,閥芯蝶板3的中心固定連接有閥桿4,閥體1頂部的中心安裝有支撐架5,支撐架5的頂部固定連接有傳動支座6,傳動支座6頂部的中心轉動連接有固定塊7,固定塊7外壁的一側固定連接有伸縮桿8,伸縮桿8遠離固定塊7一端的外壁套接有橡膠皮套9,傳動支座6的頂部分別固定連接有與伸縮桿8相對應的第一鎖緊塊10和第二鎖緊塊11,第一鎖緊塊10和第二鎖緊塊11一側的中心均安裝有定位桿12,定位桿12的頂部固定連接有手提把手13,第一鎖緊塊10和第二鎖緊塊11一側的中心均開設有與定位桿12相對應的滑槽14,兩個定位桿12的外壁均套接有復位彈簧15,兩個定位桿12外壁的中心固定連接有限位塊16,第一鎖緊塊10和第二鎖緊塊11底部的一側均開設有與定位桿12相對應的定位槽17。
固定底座2頂部的中心安裝有與閥桿4相對應的轉動軸承。
閥桿4通過多個固定螺釘與閥芯蝶板3固定連接,且閥桿4的頂端貫穿閥體1和支撐架5并向傳動支座6的中心延伸,閥桿4的頂端只有貫穿閥體1和支撐架5并向傳動支座6的中心延伸,才能使閥桿4與固定塊7固定連接,從而可以通過轉動固定塊7帶動閥桿4和閥芯蝶板3進行轉動,從而實現閥芯蝶板3的啟閉。
支撐架5是通過多個固定螺栓與閥體1固定連接,通過多個固定螺栓與閥體1固定連接使其便于拆卸和安裝。
第一鎖緊塊10和第二鎖緊塊11一側頂部以及底部的中心均開設有與定位桿12相對應的通孔,定位桿12貫穿通孔并向滑槽14的兩端延伸。
第一鎖緊塊10和第二鎖緊塊11外壁一側的底部均開設有與伸縮桿8相對應的限位凹槽18,當伸縮桿8轉動至限位凹槽18中后,再用定位桿12進行固定,既可以完成對伸縮桿8的鎖定。
工作原理:本實用新型提出的一種對夾式硬密封蝶閥與傳統裝置有較大改進創新,在使用該對夾式硬密封蝶閥時,我們只需將其安裝在需要連接的管道之間即可,當伸縮桿8位于第二鎖緊塊11的一側時,閥芯蝶板3處于關閉狀態,在需要開啟閥芯蝶板3時,我們只需拉出伸縮桿8,從而使伸縮桿8定向伸長,在杠桿原理的作用下,我們可以輕松的通過伸縮桿8帶動固定塊7向第一鎖緊塊10的方向轉動,而閥桿4與固定塊7固定連接,從而可以通過轉動固定塊7帶動閥桿4和閥芯蝶板3進行轉動,從而實現閥芯蝶板3的開啟,待伸縮桿8靠近第一鎖緊塊10一側的定位桿12時,我們可通過抓住手提把手13拉起定位桿12,從而使其底端離開定位槽17,然后繼續轉動伸縮桿8,使其轉動至限位凹槽18中,然后我們即可松開手提把手13,在復位彈簧15自身的彈性作用下,會將定位桿12反向推回定位槽17中,從而完成對伸縮桿8以及閥芯蝶板3的鎖定,在需要重新關閉閥芯蝶板3時,只需反向重復上述步驟即可。
最后應說明的是:以上所述僅為本實用新型的優選實施例而已,并不用于限制本實用新型,盡管參照前述實施例對本實用新型進行了詳細的說明,對于本領域的技術人員來說,其依然可以對前述各實施例所記載的技術方案進行修改,或者對其中部分技術特征進行等同替換,凡在本實用新型的精神和原則之內,所作的任何修改、等同替換、改進等,均應包含在本實用新型的保護范圍之內。
技術特征:
1.一種對夾式硬密封蝶閥,包括閥體(1),其特征在于:所述閥體(1)底部的中心固定連接有固定底座(2),所述閥體(1)的中心轉動連接有閥芯蝶板(3),所述閥芯蝶板(3)的中心固定連接有閥桿(4),所述閥體(1)頂部的中心安裝有支撐架(5),所述支撐架(5)的頂部固定連接有傳動支座(6),所述傳動支座(6)頂部的中心轉動連接有固定塊(7),所述固定塊(7)外壁的一側固定連接有伸縮桿(8),所述伸縮桿(8)遠離固定塊(7)一端的外壁套接有橡膠皮套(9),所述傳動支座(6)的頂部分別固定連接有與伸縮桿(8)相對應的第一鎖緊塊(10)和第二鎖緊塊(11),所述第一鎖緊塊(10)和第二鎖緊塊(11)一側的中心均安裝有定位桿(12),所述定位桿(12)的頂部固定連接有手提把手(13),所述第一鎖緊塊(10)和第二鎖緊塊(11)一側的中心均開設有與定位桿(12)相對應的滑槽(14),兩個所述定位桿(12)的外壁均套接有復位彈簧(15),兩個所述定位桿(12)外壁的中心固定連接有限位塊(16),所述第一鎖緊塊(10)和第二鎖緊塊(11)底部的一側均開設有與定位桿(12)相對應的定位槽(17)。
2.根據權利要求1所述的一種對夾式硬密封蝶閥,其特征在于:所述固定底座(2)頂部的中心安裝有與閥桿(4)相對應的轉動軸承。
3.根據權利要求1所述的一種對夾式硬密封蝶閥,其特征在于:所述閥桿(4)通過多個固定螺釘與閥芯蝶板(3)固定連接,且所述閥桿(4)的頂端貫穿閥體(1)和支撐架(5)并向傳動支座(6)的中心延伸。
4.根據權利要求1所述的一種對夾式硬密封蝶閥,其特征在于:所述支撐架(5)是通過多個固定螺栓與閥體(1)固定連接。
5.根據權利要求1所述的一種對夾式硬密封蝶閥,其特征在于:所述第一鎖緊塊(10)和第二鎖緊塊(11)一側頂部以及底部的中心均開設有與定位桿(12)相對應的通孔,所述定位桿(12)貫穿通孔并向滑槽(14)的兩端延伸。
6.根據權利要求1所述的一種對夾式硬密封蝶閥,其特征在于:所述第一鎖緊塊(10)和第二鎖緊塊(11)外壁一側的底部均開設有與伸縮桿(8)相對應的限位凹槽(18)。
技術總結
本實用新型公開了一種對夾式硬密封蝶閥,包括閥體,所述閥體底部的中心固定連接有固定底座,所述閥體的中心轉動連接有閥芯蝶板,所述閥芯蝶板的中心固定連接有閥桿,所述支撐架的頂部固定連接有傳動支座,所述傳動支座頂部的中心轉動連接有固定塊,所述固定塊外壁的一側固定連接有伸縮桿,所述傳動支座的頂部分別固定連接有與伸縮桿相對應的第一鎖緊塊和第二鎖緊塊,所述第一鎖緊塊和第二鎖緊塊一側的中心均安裝有定位桿,兩個所述定位桿的外壁均套接有復位彈簧。本實用新型中,該對夾式硬密封蝶閥不僅設計有簡單的啟閉機構,還設計有鎖緊機構,既可以快速方便的啟閉閥芯蝶板,同時也可以實現對閥桿位置的鎖緊固定,工作效率大大提高,值得大力推廣。